 
                                Trang tin tức số 1 dành cho các tín đồ của Apple!
Theo như nguồn tin chưa chính thức thì có thể Apple Watch Series 7 sẽ có kích th...
Tales of the Mirror lấy bối cảnh triều đại thời nhà Minh, bạn sẽ đi tìm hiểu và ...
Game rất vui nhộn, bạn sẽ mở một chuỗi kinh doanh hớt tóc nam, phục vụ cắt tóc t...
Việc khôi phục dữ liệu iCloud trên iOS 15 đã trở nên dễ dàng hơn khi người dùng ...
Mới đây Apple đã đồng loạt phát hành bản thử nghiệm Beta 8 của iOS 15, tvOS 15 v...
Theo nghiên cứu và báo cáo mới đây từ Consumer Intelligence Research Partners (...
Jon Prosser vừa cho rằng Apple đã phát triển phần cứng Face ID mới giúp nó nhận ...
Đó là lời chia sẻ bởi một leaker trên Twitter - Dylandkt, anh cho rằng MacBook P...
Mới đây, các nhà nghiên cứu bảo mật tại Citizen Lab, cơ quan giám sát internet c...
Chính phủ Hàn Quốc có khả năng sẽ cấm Google và Apple đòi hỏi các nhà phát triển...
Hiện tại iPad nói chung đang sử dụng hợp kim nhôm để làm khung máy, và mới đây c...
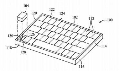
Sáng chế thú vị này có tên "Deployable Key Mouse" được đệ trình lên văn phòng sá...
Theo Mark Gurman từ Bloomberg, Apple trước đây đã thử nghiệm Touch ID tích hợp d...
Theo các báo cáo mới nhất từ JP Morgan Chase, các mẫu iPhone 2022, hay tạm gọi l...
Mark Gurman từ Bloomberg cho rằng Apple đang nâng cấp phiên bản Mac mini với việ...
Với Submarine, việc tìm kiếm phụ đề cho phim của bạn dễ dàng hơn bao giờ hết.
Theo nội dung email của Steven Jobs từ năm 2010, thì Apple đã có kế hoạch phát t...
BMW trong giai đoạn nghiên cứu nhằm tung ra một ứng dụng mới dành cho Apple Watc...